在两轮车换电、电池租赁、物流配送等规模化运营场景中,锂电池不仅需要安全防护、定位防盗,更需要智能监测、数据联动、云端管控。 两/三轮车锂电池智能定位提手,不止是集成北斗+GPS定位的智能硬件终端,更是打通BMS电池保护板的智能中枢,通过与BMS深度通信联动,让传统锂电池从“被动防护”升级为主动管理、数据可视、远程可控的智能电池。

一、两/三轮车锂电池定位提手核心功能
定位+防盗+远程控制+提手一体化智能硬件, 采用提手定位模块+通信模块集成设计,在满足电池搬运承重的同时,实现:
①北斗+GPS+基站多重定位:实时位置追踪、历史轨迹回放、里程统计
②防拆报警、震动报警、光感报警:非法拆解立即上报并告警
③4G+蓝牙双模:远程上报+本地调试,信号盲区可蓝牙读取
④IP67级防尘防水、阻燃耐高温:适配户外、换电柜复杂环境
二、锂电池智能提手与BMS保护板深度结合:功能质变与数据协同
锂电池BMS保护板负责过充、过放、过流、短路、温度等安全保护。 锂电池智能提手通过通信接口与BMS直连,实现数据互通、指令互通、状态互通:
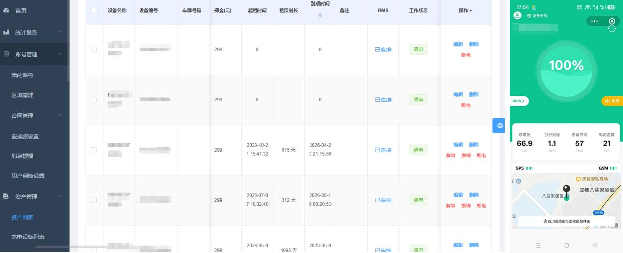
1.电池核心数据实时上云,可视化管理
提手读取并上传BMS实时数据至云端平台:总电压、单体电压、充放电电流、电量、电池温度、充放电状态、循环次数、故障码(过压、欠压、过流、高温、低温)等实时数据,有效延长电池寿命、降低亏电故障率,告别盲目运维。

2.远程控制BMS联动:远程断电、安全锁机,锂电池智能提手接收指令,与BMS联动执行安全控制:
①远程断电:通过控制BMS放电MOS,禁止电池输出
②异常锁机:电池被盗、越界、强拆时,GPS自动触发BMS断电保护
③安全恢复:合法用户授权后,云端解除锁定,恢复正常使用
④实现定位追踪+远程锁电双重防盗。

3.异常状态主动预警
电池过温、低温告警、过压、欠压、电芯不均衡告警、短路、过流、故障码上报、电池离线、低电量、非法移动告警、从事后追查变为事前预警,大幅降低起火、鼓包、报废风险。
三、系统管理
1.全生命周期数据管理
每块电池位置轨迹、充放电记录、温度曲线、故障历史永久存储、支持数据导出、报表统计、资产盘点、运维分析
2.批量远程运维
批量查看电压、温度、SOC,远程诊断电池健康、远程设置报警参数、升级固件、配置电子围栏、按车队、站点、分组管理,权限分级管控
3.换电/租赁场景核心价值
精准判断电池真实剩余电量,避免虚电换电,监控电池温度与异常,防止带病电池投入使用,电池丢失可定位追踪+远程断电,资产回收率大幅提升

18926572469
18926572469
加我微信咨询